Membuat Detektor Logam Sederhana
Detektor logam atau juga dikenal dengan istilah metal detektor dapat dibuat dengan rangkaian yang sederhana. Metal detector tidaklah selalu digunakan sebagai detektor bom, masih banyak kegunaan lainnya seperti pendeteksian bongkahan fosil di dinding-dinding batu atau harta karun yang terkubur di tanah. Detektor logam secara umum dapat dikatakan sebagi alat yang dapat mendeteksi adanya logam pada jarak tertentu dari sensor.
Metode yang digunakan untuk membangun sebuah detektor logam sangat beragam dan semuanya itu tergantung dari aplikasi detektor logam. Yang dimaksudkan dengan aplikasi adalah apa yang ingin di deteksi logam atau benda non-logam. Jadi aplikasi dari detektor logam tidaklah harus logam tetapi dapat pula berupa benda non-logam (tidak semua benda non-logam).
Beat Frequency Oscilator
Salah satu tipe dari detektor logam adalah tipe Beat frequency Oscilator (BFO). Metoda yang digunakan pada detektor logam pada umumnya adalah perubahan karakteristik osilator ketika terdapat sensor mendekati adanya logam.
Blok Diagram Detektor Logam Dengan Beat Frequency Osilator
Detektor bekerja berdasarkan frekuensi resonan yang telah di atur berubah-ubah ketika terdapat objek berupa logam yang letaknya cukup dekat dengan sensor search coil. Rangkaian tuning (tune circuit) harus merupakan bagaian dari rangkaian osilator sehingga jika koil sensor didekati oleh logam tertentu maka frekuensi output dari rangkaian osilasi ini akan berubah. Variasi perubahan frekuensi output ini tergantung dari frekuensi yang dipilih.
Pemilihan frekuensi yang semakin tinggi akan menyebabkan sensitivitas rangkaian meningkat karena perubahan frekuensinya semakin besar. Tetap jika pemilihan frekuensi terlalu tinggi maka pada prakteknya akan menghasilkan suatu sistem yang tidak sensitif. Hal ini karena pada frekuensi tinggi sebagian besar tidak akan dipantulkan kembali tetapi akan diserap oleh tanah, material bangunan.
Rangkaian Detektor Logam Dengan Beat Frequency Oscilator
Frekuensi yang digunakan (f1-dihasilkan oleh tank circuit dengan L1) biasanya di atas kemampuan pendengaran manusia. Karena tidak bisa didengar oleh pendegaran manusia maka perubahan frekuensi yang terjadi juga tidak akan dapat didengar pula. Untuk mengatasi hal ini maka harus dibuat nada tersendiri (audible frekuency- f2) yang menunjukkan adanya perubahan frekuensi tersebut. Inilah yang dikatakan dengan beat.
Dengan pencampuran sinyal kedua (f1 dan f2) akan menghasilkan sinyal f1, f2, (f1+f2), dan (f1-f2). Sinyal yang dapat didengar oleh pendengaran manusia adalah sinyal (f1-f2). Maka ketika ada perubahan frekuensi yang disebabkan perubahan karakteristik di search coil dapat didengarkan oleh manusia sebagai irama-beat yang berubah-ubah. Irama –beat inilah yang merupakan sinyal (f1-f2) tadi.
Pengaturan VC1 tidaklah mudah karena hal ini memerlukan percobaan pada logam tertentu. Begitu pula untuk pengaturan irama beat yang didengar karena pada suatu kondisi tertentu irama beat ini akan terasa menggangu sekali. Jadi tidaklah menutup kemungkinan tidak dihasilkannya beat atau irama beatnya lebih rendah dari keadaan normalnya karena semuanya ini dapat di atur pada VC1.
Jadi ketika terdapat perubahan karakteristik search coil maka akan dihasilkan pula suara yang frekuensinya tergantung dari beda frekuensi yang dihasilkan oleh L1 dan frekuensi yang dihasilkan oleh L2.
Metode ini masih mempunyai kelemahan yaitu variasi frekuensi outputnya masih terlalu kecil sehingga perubahan frekuensinya hampir tidak nampak. Selain itu pada suatu kondisi tertentu dapa menghasilkan suatu frekuensi dibawah audible sound. Untuk itu perlu adanya konfigurasi ulang pada kapasitor kopling dan nilai frekuensi yang digunakan.
Nilai-nilai komponen yang ada dirangkaian gambar “Rangkaian Detektor Logam dengan Beat Frequency Oscilator” diatas merupakan nilai-nilai yang tertentu pada suatu logam. Jadi untuk logam tertentu maka nilai komponennya perlu disesuiakan terutama VC1, C1, C4, dan C5.
Induktor L1 dibentuk dari lilitan yang berfungsi sebagai search coil. Induktor ini akan beresonansi bersama-sama dengan VC1 untuk menghasilkan tank circuit dengan Q yang tinggi. Osilator yang kedua dibentuk dari L2, C4, C5, R4, dan Q2 dan rangkaian osilator ini akan menghasilkan suatu sinyal dengan frekuensi yang tetap. D1 berfungsi sebagai pencampur sederhana antara f1 dan f2 dan akan menghasilkan sinyal dengan frekuensi (f1-f2) dan banyak sinyal harmonic. Sinyal dengan frekuensi (f1-f2) dibuat sedemikian hingga dapat berada pada daerah yang dapat didengar oleh pendengaran manusia.
Misalkan f1 pada 100KHz dan f2 pada 101KHz maka setelah dimixer, sinyal (f1-f2) akan menghasilkan sinyal dengan frekuensi 1KHz. Sinyal differensial ini harus dikuatkan terlebih dahulu dengan menggunakan sebuah opamp yang nantinya hanya dapat men-drive headphone dengan impedansi yang tinggi. Jika dinginkan agar dapat digunakan untuk headphone biasa maka LM741 dapa diganti dengan chip amplifier yang bertipe audio amplifier. Karena audio ampilifier outputnya mempunyai impedansi yang rendah. Pengaturan gain amplifier ditentukan dari pengaturan R7 dan R10 dan jika diperlukan maka output dari LM741 dapat dimasukkan ke sebuah rangkaian power amplifier untuk dapat menggerakkan sebuah spaker.
Rangkaian pada gambar “Rangkaian Detektor Logam dengan Beat Frequency Oscilator” diatas sangat sederhana sehingga memungkinkan terjadinya frequency drift – pergeseran frekuensi. Hal ini biasanya disebabkan oleh karena faktor suhu. Walaupun demikian permasalahan ini bukan merupakan masalah yang serius. Permsalahan ini dapat ditanganni dengan mencari komponen kapasitor yang mempunyai toleransi suhu cukup besar. Selain itu layout PCB juga mempunyai pengaruh yang besar pada permsalahan ini.
Ukuran dari search coil tergantung dari sensitivitas detektor logam yang dinginkan dan bentuk dari sensor itu sendiri. Misalnya, sebuah search coil yang besar tentunya dapat dengan mudah menemukan logam yang dicari pada suatu area yang luas daripada sebuah detektor logam dengan search coil yang kecil. Sebaliknya detektor logam yang besar tidak dapat menentukan lokasi kabel yang tertanan pada sebuah tembok dengan tepat karena ukuran sensornya yang besar.
Jadi semakin besar search coil nya maka keakurasiannya semakin kecil tetapi sensitiviasnya semakin besar tetapi sebaliknya search coil yang kecil, biasanya digunakan untuk compact metal detector, mempunyai keakurasian yang tinggi tetapi sensitivitasnya kurang. Bentuk dari search coil biasanya adalah lingkaran atau persegi. Selain itu perlu adanya lapisan shield yang berfungsi untuk mengurangi efek elektrostatis dan efek-efek yang disebabkan karena benda-benda kapasitif.
Detektor Resonansi Dengan Frekuensi Tetap
Pada detektor ini, prinsipnya hampir sama dengan BFO tetapi sedikit berbeda pada bagian tune circuitnya. Perubahan karakteristik pada search coil akan menyebabkan nilai Q bergeser sehingga sinyal dengan frekuensi tetap amplitudonya berubah-ubah. Pada saat search coil didekatkan pada sebuah logam maka nilai Q akan tepat pada frekuensi sinyal yang dihasilkan pada fix frequency oscilator dan akan menghasilkan sinyal dengan peak yang maksimal.
Detektor Resonansi dengan Frekuensi Tetap
Sehingga dengan menggunakan detektor ini akan didapatkan perubahan amplitudo/level tegangan sinyal yang dihasilakn oleh osilator tersebut. Tinggi-rendahnya level sinyal tersebut dihasilkan dari penyerahan dan pemfilteran sinyal osilator yang di-tune berdasarkan karakteristik L pada search coil.
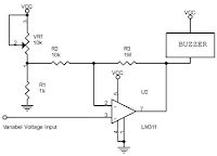
Ketika tegangan threshold tercapai maka dengan menghubungkan sebuah komparator pada output dari blok rectifier/filter dan output LM311, sebuah komparator, pada sebuah buzzer maka akan didapatkan sebuah suara ketika mendeteksi kehadiran sebuah logam.
R1 dan VR1 digunakan untuk mentukan tegangan threshold dan R3 digunakan untuk mengatur histerisis pada proses komparator LM311. Histeris mutlak diperlukan untuk mencegah adanya osilasi disekitar daerah trigger. Dengan menggunakan rangkaian pada gambar “Rangkaian Pengganti Voltmeter” diatas, buzzer tidak akan bekerja sampai ditemukannya sebuah logam.
Untuk versi detektor yang menggunakan sebuah chip saja, rangkaian detektor logam dapat dibangun dengan mengguakan chip CS209A. Chip ini memang didisain untuk kepentingan pendeteksian logam. Chip ini biasanya digunakan untuk detektor logam mini. Operasi kerjanya mirip dengan detektor resonan yang menggunakan frekuensi tetap. Output dari chip CS209 ini nanti dapat menggerakkan sebuah buzzer.
Metode detektor logam yang lain adalah dengan menggunakan magnetometer. Detektor ini biasanya digunakan untuk mendeteksi logam yang tertanam jauh di dalam tanah.
Blok Diagram Detektor dengan Metode Magnetometer
Detektor logam yang menggunakan metode magnetometer tidaklah kebal terhadap gangguan-gangguan yang disebabkan oleh medan magnet yang disebabkan oleh jaringan listrik, atau meterial-material yang mengandung bahan-bahan magnetik. Walaupun demikian detektor logam ini paling menjanjikan hasil yang paling baik daripada detektor-detektor logam dengan metode yang lain.
Karena sinyal magnetik yang diterima sangat kecil maka konstruksi alatnya perlu diperhatikan dengan baik begitu pula dengan rangkaian osilator dan drivernya.
Ketika terdapat logam maka sinyal yang dihasilkan oleh osilator akan semakin kuat, semakin tinggi puncak dari sinyal akan menghasilkan level tegangan yang semakin tinggi pula.
Bagaimana cara menentukan keberadaan sebuah logam dengan sebuah detektor logam juga menentukan keberhasilan pencarian logam yang dimaksudkan. Walaupun dalam beberapa metode yang terakhir semuanya ditentukan dari pembacaan voltmeter tidaklah harus demkian karena dengan menentukan level trigger pada level tertentu maka dapat digunakan untuk membunyikan sebuah buzzer atau menyalakan sebuah LED.
Dengan mencari kondisi yang paling maksimal maka dapat diambil kesimpulan bahwa logam terletak pada area tersebut. Dengan menggunakan search coil yang lebih banyak pun dapat dihasilkan penunjukkan yang tepat dalam waktu yang lebih singkat. Yang penting bahwa dalam pembacaan hasil dari sebuah detektor, kondisinya dapat bervariasi tergantung dari bahan logam yang dikandung dan kedalamannya terhadap permukaan tanah pada saat dilakukan pengujian/deteksi menggunakan detektor logam atau metal detektor tersebut.




